- Produktbeskrivning
-
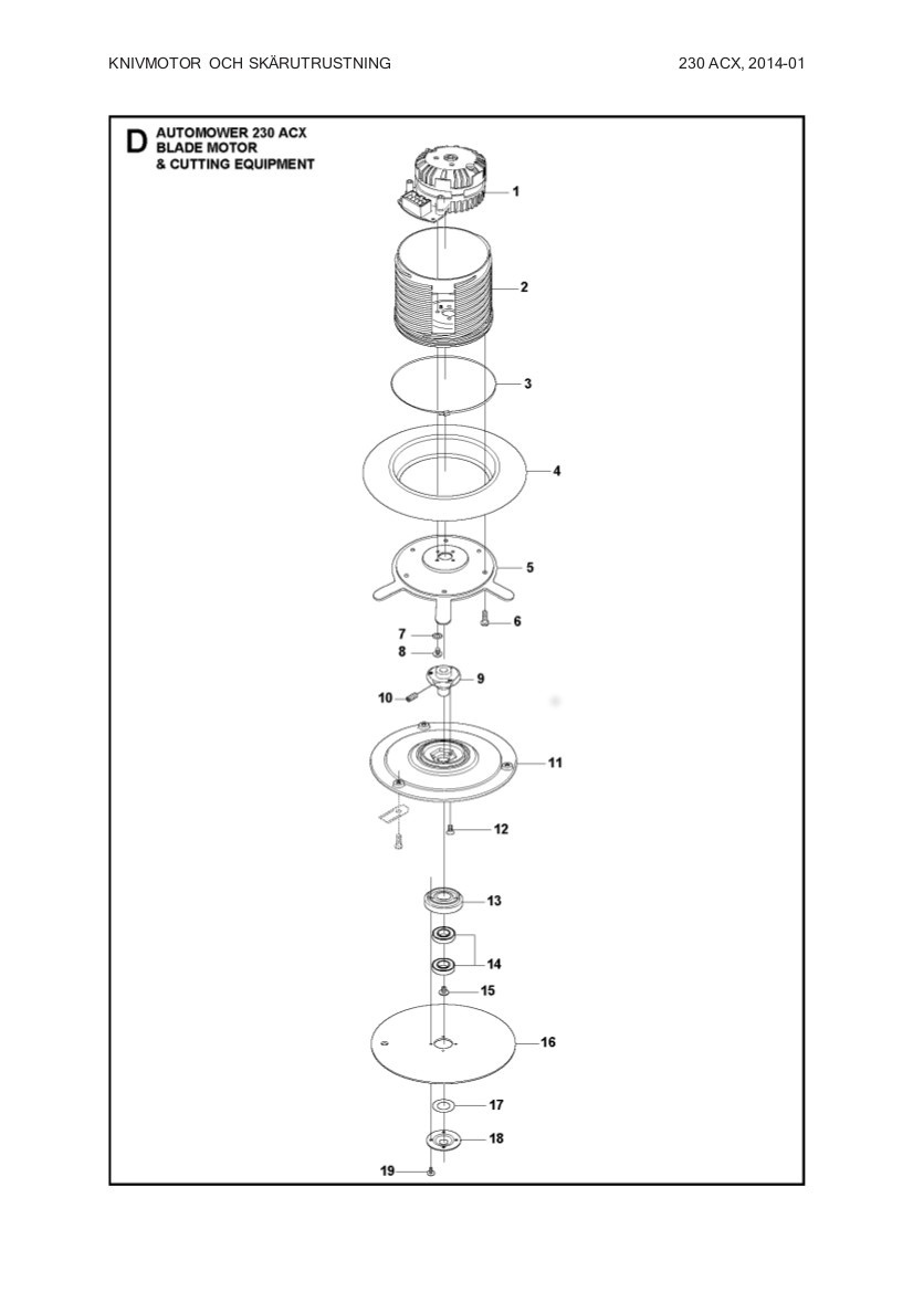
522 77 15-02 - Platta till klippsystem
Obs ersätter 522 77 15-01
Passar till
Gardena
R160, 2013-2015
Husqvarna
220 AC, 2010-2015
230 ACX, 2010-2014
SOLAR HYBRID , 2011-2014 - Specifikationer
-
Tillverkarens artikelnummer: 522 77 15-02 , 522771502 - Filer
Prishistorik
Nedan finner du prishistorik för denna produkten de senaste 30 dagarna.
Vårt lägsta pris 1-30 dagar innan sänkning:

Uk - GBP
Sweden - SEK



