- Produktbeskrivning
-
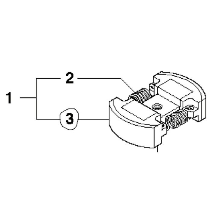
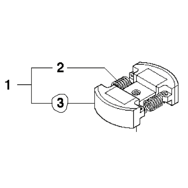
Kopplingsback, 5443035-01
Reservdel från Husqvarna
Passar till bl.a:
Husqvarna 123HD60
Jonsered
Jonsered HT2124
Jonsered HT2124T
Jonsered HT2224T
Jonsered HT2230T
Vill du söka bland Husqvarna sprängskisser & reservdelar? Använd då vår reservdelskatalog. Tryck här för att komma till reservdelskatalogen. Tänk på att du alltid ska säkerställa att artikelnumret blir rätt med hjälp av sprängskissen för din maskin. - Specifikationer
-
Tillverkarens artikelnummer: 544 30 35-01 , 544303501 - Filer
Prishistorik
Nedan finner du prishistorik för denna produkten de senaste 30 dagarna.
Vårt lägsta pris 1-30 dagar innan sänkning: 305 kr

Sweden - SEK
Uk - GBP

