- Produktbeskrivning
-
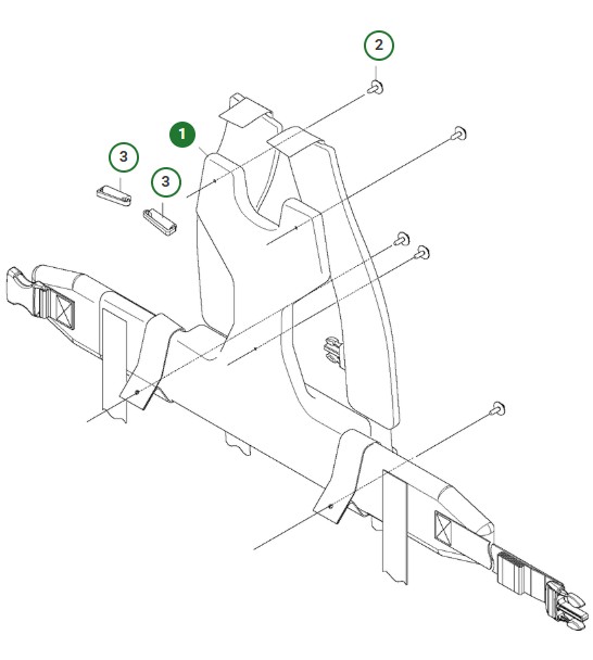
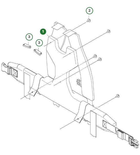
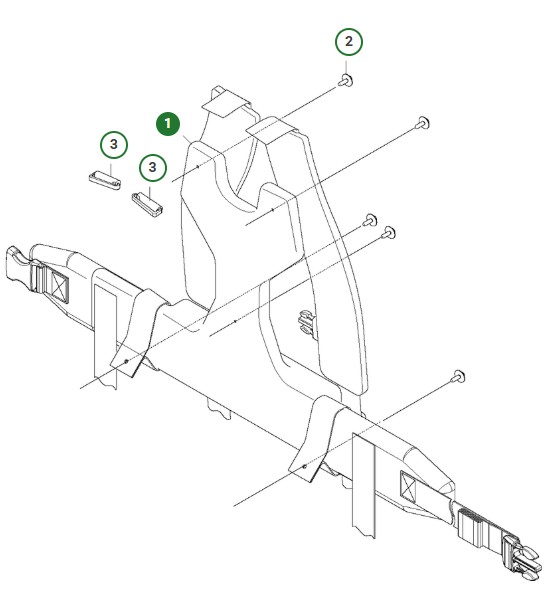
Husqvarna Dyna med artikelnummer 576579101
Vill du söka bland Husqvarna sprängskisser & reservdelar? Använd då vår reservdelskatalog. Tryck här för att komma till reservdelskatalogen. - Specifikationer
-
Tillverkarens artikelnummer: 576 57 91-01 , 576579101 - Filer
Prishistorik
Nedan finner du prishistorik för denna produkten de senaste 30 dagarna.
Vårt lägsta pris 1-30 dagar innan sänkning:

Uk - GBP
Sweden - SEK

